Не выключается насосная станция. Насос не хочет выключаться –, что делать?
- Не выключается насосная станция. Насос не хочет выключаться –, что делать?
- Насосная станция набирает давление и не отключается. Насосная станция не набирает давление: причины
- Почему отключается насосная станция. Частые причины сбоев и способы устранения своими руками
- Почему не отключается насосная станция вихрь. Как правильно отрегулировать реле
- Не включается насосная станция. Что делать, если насосная станция не отключается
- Насосная станция не набирает давление. Причины отсутствия давления и их устранение своими руками
- Насосная станция не включается при падении давления. Ремонт насосной станции своими руками
- Не отключается водяной насос.
Не выключается насосная станция. Насос не хочет выключаться –, что делать?
Если длительное время не происходит отключения насоса, это говорит о том, что насосная станция не набирает давление, необходимое для срабатывания реле. Причин этому может быть несколько, а именно:
- не хватает мощности насоса;
- нет воды в полости вихревого насоса;
- крупная утечка в разводке водопровода.
Рассмотрим каждую из приведенных ситуаций. В каких случаях насос не обеспечивает необходимый напор? Причинами такого явления бывают:
- установка маломощного оборудования (насос не справляется с задачей в конкретных условиях эксплуатации);
- износ самого насоса.
Первая ситуация бывает при неправильном расчете мощности оборудования, когда такой эксплуатационный показатель, как напор, не соответствует реальным условиям. То есть насос слабый, поэтому не способен преодолеть сопротивление воды (которую нужно поднять с определенной глубины) и сжатого воздуха в накопительном бачке. Такая проблема проявляет себя сразу же после установки приобретенной станции и первых попытках ее запустить. Решается вопрос заменой оборудования более мощным.
При длительной эксплуатации водонапорного устройства может прийти в негодность одна из деталей вихревого насоса. Часто это бывает крыльчатка, что изнашивается и не может обеспечить необходимый напор воды. В этой ситуации нужно заменить износившуюся деталь или насос в сборе. Для обоих случаев будет характерно наличие воды в водопроводной системе, то есть станция воду закачивает, но ее давления не хватает для того, чтобы сработало реле.
Особенностью вихревого насоса является его неспособность создавать давление без наличия воды в его полости. Перед запуском вновь установленной насосной станции, полость нагнетающего устройства и подающую трубу необходимо полностью заполнить водой через специальное отверстие на корпусе насоса (сверху), закрытое резьбовой пробкой. Если этого не сделать, насос будет работать вхолостую без остановок. Чтобы вода не уходила в резервуар водозабора, на конце подающей трубы обязательно устанавливается обратный клапан.
Вода для вихревых насосов является не только объектом транспортировки, но и охладителем, поэтому долго оставлять включенным нагнетающий прибор нельзя, если он не заполнен. Это приведет к перегреву и выходу из строя.
Как может возникнуть ситуация с отсутствием воды в полости насоса в процессе эксплуатации? Все просто – перестал работать обратный клапан, и вода ушла из подающей трубы. Нужно заменить клапан (если долго эксплуатируется) или проинспектировать его. Вполне возможно, что между его корпусом и мембраной попала песчинка или другой мелкий предмет, мешающий плотному примыканию. Чтобы такого не возникало, клапан оснащают сетчатым фильтром, предупреждающим засорение. Если станция длительно не выключается по причине отсутствия воды в насосе, из открытого водопроводного крана ничего не польется. В такой ситуации сразу же выключайте оборудование и ищите причину.

Установка оборудования
Еще почему не отключается насосная станция? Так бывает при объемном заборе воды в точках потребления или при значительном прорыве трубопровода в системе бытового водоснабжения. Набранное насосом давление постоянно расходуется, поэтому нагнетающее устройство может долго не выключаться. В такой ситуации должна беспокоить возможность прорыва коммуникаций. Чтобы определить наличие/отсутствие утечки, перекрывается ближайший к станции кран на отводящей трубе. Если после этого оборудование стало работать с нормальными интервалами (набрало давление и выключилось), нужно срочно искать прорыв или попросту кем-то забытый открытый кран.
Насосная станция набирает давление и не отключается. Насосная станция не набирает давление: причины
Насосная станция не набирает давление и не отключается
Что такое насосная станция, как она работает
Возможные причины возникновения неисправности
Последовательность выполнения корректировки
Коротко о главном
На дачных участках и приусадебных участках практически всегда используются насосные станции, которые обеспечивают дом питьевой и технической водой, закачивают её в систему отопления и ГВС, позволяют организовать полив, решить целый ряд иных задач.
Однако механизму свойственно ломаться. Ответы на вопросы: каковы внешние проявления неисправностей насосных станций, каковы причины их возникновения, как можно устранить вы получите, прочитав настоящую статью.

Ремонт оборудования
Насосная станция не набирает давление и не отключается
Можно составить список причин, являющихся типовыми для оборудования подобных типов.
Чтобы устранить неисправность, вам, предварительно предстоит найти её.
Поможет в этом знание конструкции насосной станции и принципа работы. Эта информация позволит вам чётко выстроить поисковые работы, выясняя наличие или отсутствие той или иной неисправности (от наиболее вероятных, до встречающихся достаточно редко).
Получив ответ на вопрос, почему насосная станция не набирает нужное давление и не отключается, следует перейти ко второму этапу работ. Теперь вам предстоит понять, какая из возможных причин привела к поломке.
После того, как вам стало полностью понятно, почему насосная станция не набирает давление, следует выбрать технологию возникновения установленной причины поломки, запастись необходимыми инструментами, расходными материалами и запасными частями (при необходимости).
Только полностью подготовившись к работе, можно приступать к практическим шагам.

Почему отключается насосная станция. Частые причины сбоев и способы устранения своими руками
При работе насосной автоматики часто наблюдаются сбои, часть из которых можно устранить своими силами. Наиболее частые причины неправильной работы:
- неисправность насоса;
- потеря герметичности в гидроаккумуляторе, из-за чего он не держит давление;
- засорение патрубка, связывающего блок автоматики с водяной системой;
- нарушение целостности мембраны автоматики;
- подгорание контактной группы автоматики;
- неправильно отрегулированный блок.
Причины сбоев.
Скачки давления могут вызвать повреждение водонагревательной аппаратуры вследствие гидравлических ударов. Если насосная станция часто включается и выключается, что делать и как устранить неисправность своими силами, должен знать любой хозяин.
Сбой в работе регулятора давления
Неисправность автоматики проявляется в том, что она либо постоянно включена, несмотря на высокий напор в магистрали, либо не включается совсем. Мощные устройства, включенные через блок автоматики, могут вызвать подгорание или залипание контактов из-за высоких протекающих токов или искрения в моменты переключения. Неисправная контактная группа подлежит замене, но часто приходится менять блок автоматики в сборе.
В состав регулятора входит гибкая мембрана, соединенная со штоком. Напор воды давит на мембрану, заставляя сжиматься регулировочную пружину высокого давления. При достижении необходимой величины пружина вызывает размыкание контактов. Пружина низкого давления давит на мембрану, заставляя ее отклониться в противоположную сторону. Пока напор в системе высокий, ничего не происходит, но при снижении мембрана со штоком отклоняется и контакты реле замыкаются.
При обрыве мембраны теряется связь между давлением в магистрали и штоком автоматики, который управляет работой контактов. При этом нарушается герметичность системы. Здесь также требуется замена блока.
Сбой в работе регулятора давления.
При высокой жесткости воды или большой загрязненности часто засоряется отверстие в патрубке автоматики. При этом вода перестает поступать к мембране, и автоматика «не видит» состояние системы. Для ремонта достаточно прочистить отверстие.
Часто по незнанию пользователи сбивают настройки блока автоматики. При неправильно выставленных параметрах он будет функционировать неверно. Для регулировки нужно снять крышку блока. Там находятся 2 пружины с регулировочными гайками.
Малая пружина отвечает за максимальный напор, при котором происходит отключение питания. Большая пружина регулирует включение при снижении давления. Порядок действий при регулировке следующий:
- Отключить питание.
- Открыть кран водоразбора.
- Накачать воздух в гидроаккумулятор до необходимого значения.
- Закрыть кран и подать питание.
- Регулировкой гайки малой пружины добиться отключения насоса при достижении нужного давления.
- Открыть кран и отрегулировать давление подключения большой пружиной.
- Проверить разницу давлений включения и отключения и при необходимости повторить регулировку.
Контроль производят по показаниям встроенного манометра.
Неисправности нагнетающего модуля
Для повышения напора в существующей системе водоснабжения к насосной станции подключают нагнетающий насос, представляющий собой асинхронный двигатель. При неисправности обратного клапана давление в системе не будет поддерживаться на необходимом уровне, что вызовет частое включение.
Нарушение давления в аккумуляторе
Для того чтобы снизить нагрузку на оборудование, сделать реже частоту его подключений и поддерживать напор в системе постоянным, в гидроаккумулятор насосной станции закачивается воздух, отделенный резиновой мембраной. При работе насоса вода поступает также и в аккумулятор, вызывая через мембрану сжатие находящегося там газа. При включенном водоразборе мембрана заставляет поступать запасенную жидкость в магистраль.
Нарушение давления в аккумуляторе.
При неисправном гидроаккумуляторе давление воды при открытых кранах падает почти моментально, заставляя включаться насос.
Повреждения могут быть следующими:
- механическое повреждение мембраны;
- утечка воздуха через неплотно затянутые соединения;
- утечка газа через нагнетающий штуцер аккумулятора.
Почему не отключается насосная станция вихрь. Как правильно отрегулировать реле
Когда насосная станция не набирает давление, необходимо в первую очередь отрегулировать реле. Для управления насосом в устройстве реле существуют две гайки, с помощью которых можно установить, как минимальное, так и максимальное давление.
Гайка, которая придерживает большую пружину контролирует минимальный порог давления. Более мелкая пружинка контролирует разницу между максимумом и минимумом в устройстве.
Часто это банальное регулирование, на которое большинство владельцев не обращает внимания, и является первопричиной проблемы с нагнетанием давления.
Правильная настройка заключается в следующем:
- отключите станцию от электропитания;
- слейте воду с резервуара и выпустить воздух через специальный клапан;
- к трубке насоса подключите резервуар, оснащенный манометром;
- накачайте резервуар до нужного давления, ссылаясь на отметку на реле;
- проворачивайте гайку, держащую большую пружину до тех пор, пока не установится минимальный порог давления;
- гайкой, удерживающей маленькую пружинку, установите разницу между самым высоким и самым низким давлением.
Важно! Причиной почему насосная станция не набирает давление и не отключается может быть и повреждение пружин. Случается этого, когда пружинки начинают ржаветь и приходят в негодность.
В таком случае происходит замыкание контактов, что не позволяет оборудованию нормально работать.
Так же препятствовать автоматической работе насосной станции будет засорившийся блок. В таком случае необходимо произвести его очистку. Кроме того, почистить его нужно до того, как приниматься за регулирование пружин в реле.
Не включается насосная станция. Что делать, если насосная станция не отключается
Известно, что насосная станция работает по циклам - отключение и включение. Если оборудование работает беспрерывно, это приводит к быстрому износу деталей и его быстрому выходу из строя. Рассмотрим, что нужно делать в случае отсутствия давления в системе. Вы можете отследить, что насосная станция не набирает давление. В этом случае может быть целый ряд неисправностей, среди которых:
- Отсутствие воды в скважине. Если в источнике недостаточно воды, мотор начинает работать “в сухую”. Он перегревается, что часто приводит к серьезным поломкам. Именно жидкости для погружных насосов выступает способом охлаждения. Во избежание подобных ситуаций лучше ориентироваться на модели со встроенной автоматикой. Есть специальные датчики, которые контролируют уровень воды и при ее критических показателях подают сигнал об отключении насоса.
- Проблема связана с магистралью. В этом случае потребуется колоссальная работа, которая заключается в поиске трещин или прокладке новых труб. Во избежание такой проблемы при проектировании системы трубопровода следует избегать большого количества переходов и колен.
- Засоренность. Клапан и фильтр могут забиваться, что приводит к нестабильной работе оборудования. Для устранения этой неполадки нужно разобрать насос и хорошо его прочистить. Если есть дефекты на фильтре, его потребуется починить или заменит.
- Неполадки реле давления. Нужно проверить установленные параметры его отключения или сделать диагностику контактов. Если реле засорено, почистите скопившееся соли на пружинах. Все нужно выполнять аккуратно, поскольку повреждение деталей может привести к необходимости их замены.
- Потенциальной причиной такого поведения оборудования может быть износ крыльчатки. Замена крыльчатки возможна, однако в некоторых случаях приходится менять весь насос.
- Сбои в сети. Насосное оборудование работает от сети, поэтому любые сбои в системе отражаются на его функциональности. Точно устранить и иногда определить эту неполадку достаточно непросто. При работе с насосной станцией используйте стабилизаторы давления. Это самый эффективный способ предупреждения этой неполадки.
Насосная станция не набирает давление. Причины отсутствия давления и их устранение своими руками
На вопрос, почему насосная станция не набирает давление, единого ответа нет, а равно и нет панацеи для решения этой проблемы.
Все зависит от того, по какой причине произошел сбой. Определить ее и отремонтировать насосную станцию несложно, если последовательно «пройтись» по всему пути следования жидкости и рассмотреть оборудование, отвечающее за ее циркуляцию.
Упал уровень воды
Если в скважине и колодце нет достаточного притока, то насос качает вхолостую.
Долго это длиться не может, и электрические элементы, в конце концов, перегорят. Те модели, которые оснащены защитой будут отключены, что также является причиной думать, что проблема в этом. Придется подождать, пока скважина снова наполнится, а пока нужно пользовать альтернативными источниками.
Забит фильтр на входе

В данном случае насосная станция не выключается, но является исправной. Единственное, что нужно сделать, это почистить сетку от песка и глины. Если дно колодца заилилось, придется его почистить. В любом случае нужно вынуть насос, и убедиться, что проблема именно в этом. Модели, имеющие встроенную систему фильтрации, требуют периодического обслуживания, которое заключается в промывке фильтра.
Воздух в насосе или подсос воздуха
Глубинные насос должны быть утоплены в воде полностью.
Если он выглядывает, то не удивительно, что вместе с водой в систему закачивается воздух. Проверьте, на ту ли глубину опущена помпа. А если насосная станция находится на поверхности, то вероятней всего в шланге, идущем от источника, имеется дырка, через которую засасывается воздух. Глубину опускания насоса также придется перепроверить, чтобы он не работа вхолостую.
Неполадки эжектора или прокладки
Слабый напор может быть связан с тем, что неисправен эжектор . Этим узлом комплектуются некоторые модификации насосов для увеличения производительности и поднятия эксплуатационных показателей. Его задача – увеличить энергию передачи жидкости по трубопроводу посредством вбрасывания дополнительной строи. Но если водозаборник эжектора забит, его нужно почистить вручную.
Износ рабочего колеса
Лопатки, закручивающие поток в центробежной системе всасывания, должны плотно прилегать к стакану, но при этом обеспечивается свободное вращение колеса, вращающегося при помощи подшипников. Выход из строя хотя бы одного из них приводит к заклиниванию. А протечь сквозь зазор между лопатками и корпусом – к падению всасывающей способности. Придется разобрать насос и заменить изношенные детали.
Забился штуцер реле
Автоматическое отключение производится посредством размыкания электрической цепи. Это возможно при помощи специального реле давления. Оценка рабочих параметров производится посредством автоматизированного замера параметров. Если во входной штуцер попал мусор, датчик давления не будет срабатывать, когда это нужно. Результат – насос не выключается. Выход – прочистить входное отверстие штуцера реле давления.
Низкое напряжение
Защитой от перепада напряжения в сети оснащены не все насосные станции.
Проблема в том, что при нехватке энергии она включена, но мощности недостаточно, чтобы поддерживать необходимое давление. Это значит, что скважинный насос может работать, но его производительности не хватит, чтобы выдавить воду на поверхность. Отключаться он не будет, если не оборудован специальной электронной системой защиты.

Выход – тестирование электрической сети с целью определить, имеется ли в ней достаточное напряжение. Ч тобы навсегда устранить эту проблему, нужно в цепь подключить стабилизатор, который убережет оборудование, установленное в доме от скачков и короткого замыкания. Защитная электроника лишь спасает электрическую часть оборудования от перегорания. Стабилизатор исключает такую возможность в принципе.
Протечка в системе

Если трубы, идущие от насоса к точке потребления, имеет брешь, это – то же самое, что открыть кран, и оставить его открытым. Давление распределяется, и для нормального функционирования потребителя его уже недостаточно. Чтобы выявить протечку, необходимо пройти по всей цепи, наблюдая за намоканием, а также проверяя все точки на момент закрытия. Ремонт заключается том, чтобы перекрыть шаровый кран и устранить пробоину в трубопроводе.
Насосная станция не включается при падении давления. Ремонт насосной станции своими руками
Насосные станции — отличный способ обеспечить автономное водоснабжение. Они довольно быстро вошли в наше бытие и хорошо удерживают свои позиции. Бытовая насосная станция обеспечивает
автоматическое поддержание необходимого давления в системе водоснабжения путем самостоятельного включения и отключения по мере расхода воды. Но неисправности этих станций случаются довольно часто. Часть неисправностей связанна по природе среды — вода и электричество — быстрая коррозия металлических деталей. Этой болезни подвержены и погружные насосы, электро-бойлеры и другая техника. Если детали станции повреждены коррозией, то их надо только менять и по возможности устранить причину, например проверить заземление насосной станции. Рассмотрим типовые неисправности и методы их устранения
В начале рассмотрим устройство и принцип действия бытовой насосной станции.

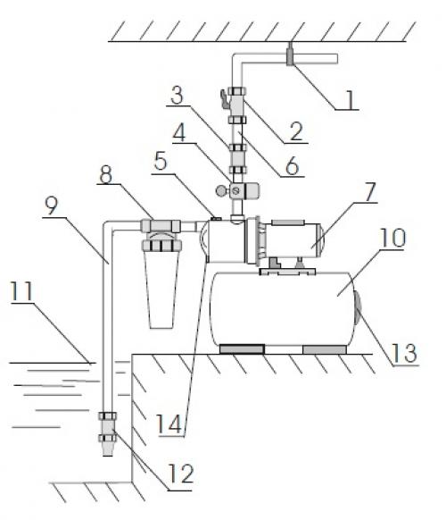
Условные обозначения на рис. 1-опора напорной магистрали, 2-кран, 3-обратный клапан, 4-реле давления, 5-отверстие для залива воды (у Silverjet отсутствует), 6-напорная магистраль, 7-насос, 8- магистральный фильтр, 9-всасывающая магистраль, 10-гидроаккумулирующий бак, 11-вода, 12- обратный клапан с сеточкой, 13-крышка, закрывающая ниппель, 14-отверстие для слива воды.
Поверхностный центробежный электронасос состоит из однофазного асинхронного двигателя и насосной части. Электродвигатель состоит из оребренного корпуса, статора, ротора, конденсаторной коробки и закрытого защитным кожухом вентилятора. Для защиты двигателя от перегрева в обмотку его статора встроено тепловое реле. Насосная часть состоит из корпуса, рабочего колеса и встроенного эжектора. Корпус насосной части, в
зависимости от модели насосной станции выполнен из чугуна, стекло-полипропилена или нержавеющей стали. Гидроаккумулятор состоит из стального резервуара и сменной мембраны из пищевого этилен-пропиленового
каучука. Гидроаккумулятор имеет ниппель для закачки в него воздуха под избыточным давлением. Манометр служит для визуального контроля давления в системе водоснабжения, а реле давления определяет верхний и нижний уровень давления, при достижении которых отключается и включается насос.
Соединение насосной станции с сетью питания осуществляется посредством кабеля со штепсельной вилкой, имеющей заземляющий контакт, и розетки с заземляющим контактом. После установки и включения насосной станции вода заполняет гидроаккумулятор и водопроводную систему. При достижении давления воды в системе верхнего предела настройки реле давления, электронасос отключается. При открытии водоразборного крана, в первый момент времени вода расходуется из гидроаккумулятора. По мере расхода воды давление в системе падает до нижнего предела настройки реле давления, после чего вновь включается электронасос. Вода поступает к потребителю и одновременно заполняет гидроаккумулятор. При достижении давления воды верхнего предела реле давления, электронасос снова отключится. Циклы включения и выключения насоса повторяются до тех пор, пока осуществляется разбор воды из системы.
Для корректной работы насосной станции необходимо на всасывающей магистрали использовать обратный клапан с сетчатым фильтром грубой очистки воды.
Не отключается водяной насос.

При организации автономного водоснабжения в частном доме или на даче особое внимание уделяется насосным устройствам. Для полноценной работы водопровода необходимо не просто насосное устройство. Лучше всего организовывать водоснабжение с применением насосных станций – комплекса оборудования. Однако в работе таких сложных устройств могут возникать неисправности. В статье мастер сантехник расскажет, почему не отключается насосная станция.
Устройство комплекса насосного оборудования
Для того чтобы понять, какие неисправности могут возникать в комплексе насосного оборудования при организации насосного водоснабжения, как их исправлять, необходимо знать состав устройств и порядок их работы.

Насосные станции состоят из следующих узлов:
- Водяной насос , который накачивает воду из скважины или колодца и под давлением проталкивает ее к выходному патрубку (для оснащения насосных станций используется преимущественно не погружной, а поверхностный насос);
- Водозаборный шланг, который на максимально возможный уровень погружается в воду;
- Обратный клапан , не дающий воде из всасывающего трубопровода попасть обратно в скважину или колодец;
- Сетчатый фильтр, устанавливаемый перед обратным клапаном и очищающий закачиваемую из источника воду от частиц грязи и песка, попадание которых во внутреннюю часть насоса может стать одной из причин его выхода из строя;
- Датчик давления , устанавливаемый после насоса – на напорной магистрали (основная задача такого датчика, работающего в автоматическом режиме, состоит в том, чтобы включать насос в том случае, если давление воды в системе водоснабжения понизится до критического значения, и выключать, когда оно достигнет требуемых параметров);
- Датчик потока воды , который устанавливается до насоса и не позволяет ему работать на холостом ходу (когда из скважины или колодца перестает поступать вода, такой датчик автоматически отключает устройство, не давая ему перегреваться);
- Манометр , позволяющий измерять давление воды в трубопроводе, создаваемое насосной станцией.
- Гидробак , емкость со встроенным резиновым вкладышем. С помощью насоса в мембранную часть этой емкости поступает вода. По другую сторону от мембраны находится воздух (иногда в гидробаки подают чистый азот, но это бывает редко).