Устройство насосной станции водоснабжения и ее установка. Что представляет собой насосная станция
- Устройство насосной станции водоснабжения и ее установка. Что представляет собой насосная станция
- Устройство насоса насосной станции. Основные рабочие составляющие
- Насосная станция в разрезе. Основные компоненты
- Как установить насосную станцию в частном доме. Выбор места установки
- Как работает насосная станция на даче. Из чего состоит станция подачи воды
Устройство насосной станции водоснабжения и ее установка. Что представляет собой насосная станция
Устройство насосной станции водоснабжения состоит из гидроаккумулятора, насоса и блока автоматики. Перед тем как начать устройство водоснабжения, необходимо хоть немного представлять — как работает система. По месту монтажа насосные станции водоснабжения квалифицируются на погружные и поверхностные. У погружных агрегатов часть элементов, включая насос расположены в воде, наверху находятся гидроаккумулятор и блок автоматики.
Автоматическая насосная станция водоснабжения является продуктом полной заводской готовности, но ничто вам не мешает самим собрать себе такую станцию своими руками.

Виды насосного оборудования
При выборе сначала нужно определиться с сердцем насосной станции — насосом. Для поверхностных автоматических насосных станций водоснабжения насосы можно разделить:
- вихревые, центробежные;
- многоступенчатые или секционные.
Насосы с вихревым и центробежным принципом работы конструктивно похожи, на первый взгляд можно и не отличить. Главным является принцип работы, центробежные создают напор за счет центробежной силы, а вихревые за счет давления создаваемого лопастями крыльчатки при завихрении.


Основным плюсом тех и других служит несложная конструкция, благодаря которой их ремонт и обслуживание становится проще.
Многоступенчатые насосы или секционные эти типы агрегатов состроят из секций при проходе жидкости через каждую секцию давление увеличивается. Основным плюсом такого насоса является его способность создать сильный напор на выходе, они менее шумные.


Глубина, с который они способны поднимать воду те и другие — это обычно от 7 до 10 метров.
Следующий тип насосов — это погружные, которые в свою очередь можно разделить:
- скважинные;
- колодезные.
Колодезные и скважинные их принцип работы закачивания воды погружных станций водоснабжения бывает центробежный – за счет крыльчатки с лопастями и вибрационный посредством вибрации диафрагмы. Основным плюсом этих насосов, конечно же, является их бесшумность.

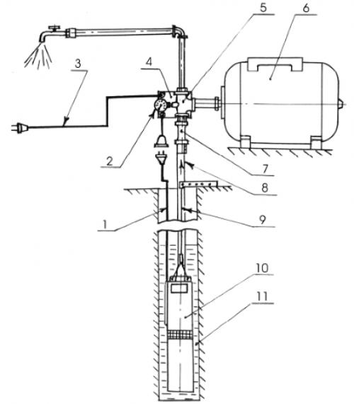
1. Шнур питания насоса, 2. Манометр, 3. Шнур электропитания, 4. Реле давления, 5. Тройник, 6. Гидроаккумулятор, 7. обратный клапан, 8. труба водопроводная, 9. Трос, 10. Погружной насос, 11. Скважина
Погружные агрегаты принято устанавливать, где вода находится слишком глубоко.
Важно! Производительность насоса зависит от условий: глубины забора, высоты подъёма воды и давления в системе.

По типу забора воды станции можно разделить:
- прямого действия;
- эжекторные.
При заборе воды прямого действия всас воды происходит за счет разряжения создаваемого в камере насоса, простыми словами это просто труба, отпущенная от насоса к источнику воды. Этот способ неудобен тем что станцию приходится располагать в непосредственной близости от источника. Погружные насосы их хоть и можно отнести к этому типу, но они стоят отдельно в своей категории.


1. Допустимый уровень воды, 2. Высота напора, 3. Водопроводная труба, 4. Манометр, 5. Реле давления, 6. Шнур питания, 7. Поверхностный электронасос, 8. Гидроаккумулятор, 9. Тройник, 10. Клапан обратный
Забор с помощью эжекции, когда разрежение создается за счет потока воды который проходя через эжектор, образует пониженное давление и засасывает за собой воду.


Преимущество такого способа забора воды — это более большая глубина забора воды, станция может располагаться на удаленности от источника.
Блок автоматики
Автоматическая насосные станции водоснабжения оснащаются блоком автоматики, который включает и выключает насос.
Блок автоматики следит за давлением в баке, за скоростью потока воды, что защищает насос от сухого хода (работы его без воды) и значительно продлевает срок службы насоса.
Зачастую станции оснащаются одним органом управления. Реле давления название говорит само за себя оно позволяет отрегулировать станцию водоснабжения на определенное давление, при достижении которого насос будет отключаться и включаться при минимальном давлении в системе.
Устройство насоса насосной станции. Основные рабочие составляющие
По устройству собранная в заводских условиях насосная станция водоснабжения отличается от поверхностного насоса наличием системы управления по значениям давления.
В состав входят следующие функциональные компоненты:
- Поверхностный электронасос.
- Гидроаккумулятор с ниппелем и внутренней резиновой “грушей”.
- Манометр.
- Реле давления.
- Соединительная арматура.
Для забора воды к ней подсоединяется всасывающая труба с обратным клапаном и сетчатым фильтром. А к выходному отверстию установки подключается магистраль, транспортирующая перекачиваемую жидкость к точкам потребления. При этом если станция имеет встроенный фильтр и клапан, то ими всасывающий шланг можно не дополнять.
Насосная станция представляет собой комплекс оборудования, включающий гидробак, реле давления, манометр и непосредственно поверхностный электрический насос. Если есть вероятность работы агрегата в состоянии “сухого хода” рекомендуется покупать насосы-автоматы, оборудованные контроллером потока и блоком автоматики
Насосная станция представляет собой комплекс оборудования, включающий гидробак, реле давления, манометр и непосредственно поверхностный электрический насос. Если есть вероятность работы агрегата в состоянии “сухого хода” рекомендуется покупать насосы-автоматы, оборудованные контроллером потока и блоком автоматики
Гидравлический мембранный бак вкупе с центробежным насосом способен поддерживать в водопроводе коттеджа давление в 1,5 атмосфер. Этого вполне достаточно для стабильной работы всей бытовой техники, которая устанавливается в частных домах. Причем большая часть моделей гидроаккумуляторов рассчитана на 4,5 атмосфер максимально возможного давления, чего с избытком хватает даже для коттеджа в два-три этажа.
Благодаря гидроаккумулятору насос защищен от возможных ударов, а при отсутствии напряжения он обеспечивает наличие небольшого количества воды про запас.
Бак из мембран гидронасоса запасает воду, поэтому в момент открытия крана насос включается только тогда, когда ее запас закончился. Каждый отдельный прибор отличается определенной нормой включений за один час. Гидроаккумулятор обеспечивает его запасом неиспользованных включений.
Автоматическая станция компакта и не требует тяжелого бетонирования площадки под оборудованием. Самый большой ее элемент – это аккумулирующий воду бак. Однако для ее установки требуется отдельное помещение из-за создаваемого при работе гула. Чаще всего всю установку монтируют на первом этаже или в подвале, где удобней всего ее эксплуатировать и обслуживать.
Чем больше емкость бака гидроаккумулятора, тем реже двигателю насоса придется включаться на работу и меньше будет его износ
Чем больше емкость бака гидроаккумулятора, тем реже двигателю насоса придется включаться на работу и меньше будет его износ
Несколько дорогим, но вполне разумным решением для размещения оборудования может стать кессон, в котором может быть расположен как весь комплекс агрегатов, так и насос с автоматикой без гидробака, установленного в доме. Бюджет вариант расположения станции на даче предполагает устройство отдельного павильона, защищающего агрегат от атмосферного негатива.
Насосная станция в разрезе. Основные компоненты
Насосная станция для частного жилища – отличное решение для автоматизации водоснабжения из любых источников. Кроме покупки оборудования и всех необходимых материалов желательно знать, как происходит монтаж оборудования. Разные характеристики моделей позволяют обеспечивать подачу жидкости в любые точки.
С встроенным эжектором
Имеют большой напор и могут высоко поднимать воду. Не требуется наполнять систему жидкостью. Имеют хорошие показатели производительности, надежные, но шумные, поэтому ставят в подсобном или звукоизолированном помещении. При установке учитывается уровень расположения воды и горизонтальный трубопровод.
С выносным эжектором
Забирают жидкость с большой глубины. Эжектор в воде, к нему крепят шланги. Малошумные, экономичные по потреблению электричества, но имеют небольшую эффективность.
Погружной насос
Подключение насосной станции гарантирует забор жидкости с разной глубины и на большом отдалении источника. Характеризуется небольшим шумом, не боятся подсоса, протечек. Довольно дорогие модели. Могут использоваться только в чистой воде, желательна установка хорошей системы фильтрации, но требуется ее регулярная чистка. Для обслуживания необходимо поднимать устройство наверх.
Гидроаккумулятор
Для уменьшения разрушительного эффекта монтируется гидроаккумулятор, который имеет мембранный тип. Он защищает устройство от износа, поддерживает давление, дает некоторый запас жидкости, исключает гидроудары. Это сосуд с мембраной – с одной стороны заполняется водой, а с другой находится воздух/азот. Вода накапливается в мембране, насос отключается, воздушная прослойка постоянно поддерживает требуемый напор. При уменьшении объема жидкости падает давление, включается насос. Элемент подбирается с учетом количества жильцов, мощности, точек, числа включений и давления. Если расчет произведен неправильно, насос будет часто включаться и быстро износится. Если воды много, то она будет застаиваться.
Блок управления
Станция для воды в частном доме имеет блок управления: манометр, реле и штуцер. Защищает от сухого хода, перегревания и остановки при попадании внутрь мусора. Агрегат включается циклами, не больше установленного максимальное числа.
Преимущества автоматического оборудования
Водная станция гарантирует экономию и комфорт:
- высокая безопасность и эффективность;
- увеличение долговечности бытовой техники, поддержание напора и давления;
- обеспечение запаса воды и ее поступление при отключении электричества;
- авторежим функционирования, минимальный износ деталей, экономичность;
- простая установка, минимальные габариты, монтаж в удобном или подходящем месте.
При плохом давлении система может подсоединяться к центральному водопроводу.
Монтаж
Перед подключением системы надо определиться с местом ее установки. Надо учитывать следующие требования:
- не прислонять к стенам;
- установка возле источника воды;
- место с хорошей вентиляцией, теплое, сухое, защита от мороза;
- свободный доступ.
Требуется тщательно все продумать, поскольку некоторые модели систем очень шумные.
Варианты монтажа:
- Помещение отапливаемое. Идеальным вариантом будет котельная, допустимы комнаты общего пользования, дальше от спален.
- Подвал или цоколь. Требуется обеспечить защиту от морозов, влаги и сделать звукоизоляцию. Часто делается короб с люком.
- Качать из колодца насосной станцией для дачи можно круглый год . Необходимо сделать платформу ниже промерзания, утеплить конструкцию.
Как установить насосную станцию в частном доме. Выбор места установки
Устанавливают насосные станции возле источника воды — скважины или колодца — в специально оборудованном приямке — кессоне. Второй вариант — в подсобном помещении в доме. Третий — на полке в колодце (со скважиной такой номер не пройдет), и четвертый — в подполе.

Установка насосной станции в подполе — может быть слишком слышен шум от ее работы
Как определить глубину всасывания
При выборе места в первую очередь руководствуются техническими характеристиками — максимальной глубиной всасывания насоса (откуда сможет поднять насос воду). Все дело в том, что максимальная глубина подъема насосных станций — 8-9 метров.
Глубина всасывания — расстояние от зеркала воды, до насоса. Подающий трубопровод можно опустить на какую угодно глубину, качать воду он будет с уровня расположения зеркала воды.
Скважины часто имеют большую глубину чем 8-9 метров. В этом случае придется использовать другое оборудование — погружной насос или насосную станцию с эжектором. В этом случае вода может подаваться с 20-30 метров, чего обычно достаточно. Минус этого решения — дорогостоящее оборудование.

Глубина всасывания — характеристика, определяющая способ установки
Если вам не хватает всего метра до того, чтобы можно было поставить обычное оборудование, можно поставить станцию в колодце или над скважиной. В колодце на стенке крепят полочку, в случае со скважиной углубляют приямок.
При расчетах не забывайте, что уровень зеркала воды «плавает» — летом он обычно понижается. Если глубина всасывания у вас на грани, в этот период воды может просто не быть. Позже, когда уровень поднимется, водоснабжение возобновится.
Соображения безопасности
Еще один момент, который надо учитывать — сохранность оборудования. Если установка насосной станции предполагается возле дома с постоянным проживанием, проблем меньше — выбирать можно любой вариант, даже в небольшом сарайчике. Только одно условие — он не должен промерзать зимой.

Установка насосной станции в сарае годится при постоянном проживании и условии утепления/отопления на зиму
Если же это дача, на которой постоянно не живут, дело сложнее — надо устраивать такое помещение, которое в глаза не бросается. Наиболее безопасный способ установки насосной станции — в доме. Хотя унести ее могут и в этом случае.
Второе место, где можно установить насосную станцию — заглубленный замаскированный кессон.

Схема установки насосной станции в колодце
Третье — на полке в колодце. Только в этом случае традиционный домик для колодца делать не стоит. Нужна стальная крышка, которая запирается на надежный замок (к кольце приварить петли, в крышке сделать прорези, на которые вешать запоры). Хотя, под домиком тоже может скрываться хорошая крышка. Только конструкцию надо продумать так, чтобы она не мешала.
Удобство и условия эксплуатации
Установка насосной станции в доме хороша всем, кроме того, что оборудование при работе шумит. Если есть отдельное помещение с хорошей звукоизоляцией и по техническим характеристикам это возможно — никаких проблем. Часто делают подобное помещение в подвале или в цокольном этаже. Если подвала нет, можно сделать короб в подполе. Доступ к нему — через люк. Этот короб кроме звукоизоляции должен иметь и хорошую теплоизоляцию — диапазон рабочих температур начинается от +5°C.
Для снижения уровня шумов станцию можно ставить на толстую резину — для гашения вибрации (создается вентилятором охлаждения). В этом случае возможно даже установка в доме, но звук, безусловно все равно будет.

Кессон из бетонных колец
Если вы остановились на монтаже насосной станции в кессоне, он тоже должен быть утепленный, а еще водонепроницаемый. Обычно для этих целей используют готовые железобетонные емкости, но можно сделать кессон из бетонных колец (по типу колодца). Вниз установить кольцо с дном, сверху — кольцо с крышкой. Еще вариант — сложить из кирпича, пол залить бетоном. Но этот способ подходит для сухих участков — уровень подземных вод должен быть ниже на метр ниже глубины кессона.
Глубина кессона такая, чтобы оборудование было установлено ниже уровня промерзания. Утеплитель пенополистирол. Лучше — экструдированный. Тогда одновременно получаете еще и гидроизоляцию.
Для кессона из бетонных колец удобно использовать скорлупу (если найдете подходящий диаметр). Но можно и плитный пенополистирол, нарезать полосами и его клеить. Для прямоугольных приямков и сооружений подойдут плиты, которые можно клеить на стены при помощи битумной мастики. Промазываете стену, прикладываете утеплитель, можно дополнительно зафиксировать парой гвоздей/дюбелей.
Как работает насосная станция на даче. Из чего состоит станция подачи воды
Для организации водоснабжения в частном доме магазины предлагаютв виде компактного блока из гидробака, блока автоматики и электронасоса. Также можно подобную установку подачи воды собрать из отдельных частей и оборудования. Оба варианта приемлемы, но лучше выбрать готовый комплект с гарантией производителя. Это обойдется дешевле и практичней при дальнейшем обслуживании. По устройству собранная в заводских условиях насосная станция водоснабжения отличается от поверхностного насоса наличием системы управления по значениям давления.
В состав входят следующие функциональные компоненты:- Поверхностный электронасос.
- Гидроаккумулятор с ниппелем и внутренней резиновой “грушей”.
- Манометр.
- Реле давления.
- Соединительная арматура.

Гидравлический мембранный бак вкупе с центробежным насосом способен поддерживать в водопроводе коттеджа давление в 1,5 атмосфер. Этого вполне достаточно для стабильной работы всей бытовой техники, которая устанавливается в частных домах. Причем большая часть моделей гидроаккумуляторов рассчитана на 4,5 атмосфер максимально возможного давления, чего с избытком хватает даже для коттеджа в два-три этажа.
Автоматическая станция компакта и не требует тяжелого бетонирования площадки под оборудованием. Самый большой ее элемент – это аккумулирующий воду бак. Однако для ее установки требуется отдельное помещение из-за создаваемого при работе гула. Чаще всего всю установку монтируют на первом этаже или в подвале, где удобней всего ее эксплуатировать и обслуживать.

Несколько дорогим, но вполне разумным решением для размещения оборудования может стать кессон, в котором может быть расположен как весь комплекс агрегатов, так и насос с автоматикой без гидробака, установленного в доме. Бюджет вариант расположения станции на даче предполагает устройство отдельного павильона, защищающего агрегат от атмосферного негатива.